我們擅長商業策略與用戶體驗的完美結合。
歡迎瀏覽我們的案例。

據外媒報道,蘋果希望其用戶能夠更方便快捷地連續解鎖多個設備,它最新申請的專利顯示,蘋果 AR 或 VR 頭盔或智能眼鏡的身份驗證可以自動解鎖用戶在附近的其他設備。
當用戶手頭有多臺設備時,他們遇到的問題之一是需要對每一臺設備進行身份驗證。例如,一個人可能不得不在一天內多次解鎖 iPhone、iPad、Apple Watch、Mac 和其他計算設備。
雖然蘋果試圖減少訪問一些設備所需的時間,比如讓用戶使用 Face ID 和 Touch ID 來身份驗證,但這個過程仍然需要一些時間才能完成。蘋果認為,解決這個問題的一個辦法可能是“就近認證”,這是蘋果此前就已提出的一個概念。如果用戶的 Apple Watch 已經驗證解鎖,那么其在附近的 Mac 電腦也就可以自動解鎖。
在美國專利商標局周四公布的一份題為“認證設備輔助用戶認證”(Authenticated Device Assisted User Authentication)的專利申請中,蘋果公司提議將這一想法擴展到其他設備中,從而允許用戶已認證的設備自動解鎖其附近的另一個設備。
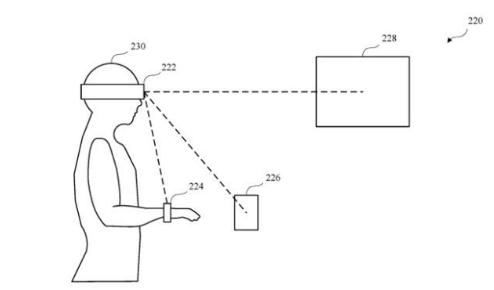
在蘋果的專利中,經過認證的設備可能是“智能頭盔”,如智能眼鏡和 AR 或 VR 頭盔。在用戶手動解鎖智能眼鏡和 AR 或 VR 頭盔后,智能眼鏡和 AR 或 VR 頭盔就可以自動解鎖用戶在附近的其他設備,從而讓用戶訪問周圍設備中的某些功能。

已驗證的智能頭盔與附近的設備通信,并解鎖它們。
附近的設備,如 iPhone 或 iPad,默認情況下可能處于鎖定狀態,通常在沒有身份驗證的情況下是無法訪問的。用戶佩戴的智能頭盔可以對周圍的鎖定設備啟動“就近認證”功能,從而確定用戶的意圖,并發送認證數據到鎖定設備,以解鎖它們。
根據鎖定設備的配置,身份驗證數據可用于解鎖它,也可以用于在不解鎖的情況下讓用戶使用有限的功能。
雖然遠近距離和意圖可以通過多種方式來確定,但蘋果的專利建議讓智能頭盔使用圖像傳感器,這些傳感器能夠發現鎖定的設備,并確定其相對于用戶的位置,以便進行意圖分析。意圖分析可以通過使用其他傳感器來實現,比如使用超寬帶無線電。
根據其檢測到的用戶意圖,智能頭盔可能會向解鎖的設備發送第二次身份驗證信息,告訴它重新鎖定。這樣做可以防止設備超長時間處于解鎖狀態,從而幫助確保用戶數據的安全,也有助于糾正這樣的誤判情況:智能頭盔解鎖了它認為用戶可能會使用的鎖定設備,但用戶最終并沒有使用該設備。
蘋果每周都會提交大量的專利申請,盡管專利的存在表明了公司研發的興趣領域,但它們并不保證未來會有使用這一概念的產品或服務出現。
此次的專利申請書中列出了它的發明者是弗萊徹-羅斯科普夫( Fletcher R. Rothkopf)、阿倫-哈圖尼安(Arlen M. Hartounian)、格蘭特-穆利肯(Grant H. Mulliken)和詹姆斯-范戴克(James W. VanDyke)。
蘋果的 AR 和 VR 頭盔傳言已久,然而蘋果一直沒有推出這樣的設備。但是,這并沒有阻止這樣的設備出現在蘋果的許多不同的專利中,比如蘋果在 2 月份申請的一項智能頭盔專利,它不需要外部標記就能判斷用戶是否正在移動。
此外,蘋果還有與隱藏式頭盔攝像頭、可拆卸耳機和全息成像等有關的專利申請。
(邯鄲網站建設)