根據美國商標和專利局(USPTO)近日公示的清單,蘋果公司獲得了一項關于 Apple Pencil 的專利,不僅可以讓其支持 iPhone,而且不需要充電。

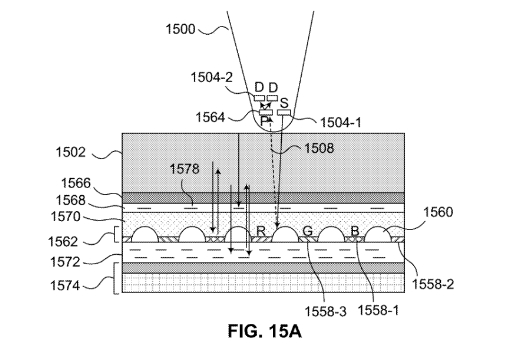
這項新專利名稱為《支持手寫筆檢測的光感應顯示屏》(Photo-Sensing Enabled Display For Stylus Detection),表示未來的 Apple Pencil 無需充電也不會耗電,用戶依然可以在屏幕上書寫和繪畫,主要依靠屏幕實現相應效果。
該專利申請涉及一種“光學觸筆系統”,它主要利用屏幕 確定目標或觸摸位置、中心點、懸停距離、傾斜角度、方位角中的一個或多個,以及在某些情況下觸筆的方向和旋轉。
蘋果公司特別描述了被動式觸控筆,這意味著它基本上是一個無需電源的手寫筆。相反,它能將光線反射回 iPad 或使用它的設備,而 iPad 則通過光學方式完成所有感應。