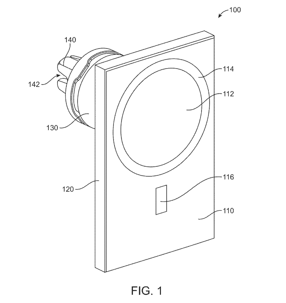
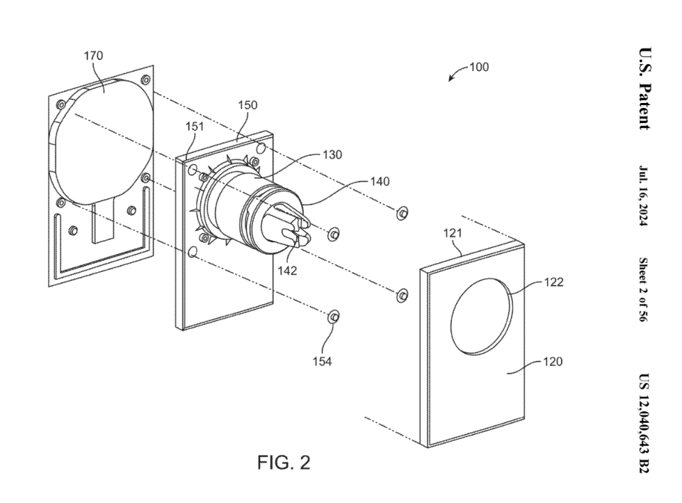
IT之家 7 月 20 日消息,美國商標和專利局(USPTO)于 7 月 16 日發布公示,蘋果公司獲批一項新的設計專利,暗示該公司未來將會推出支持無線充電的車用 MagSafe 支架。

蘋果公司在專利中表示,iPhone 等電子設備已成為用戶的日常攜帶物品,針對汽車駕駛場景,開發專門的支架,避免因急轉彎或急剎車等情況下,導致 iPhone 移動、脫落等。
蘋果在專利中探索了固定 iPhone 的車用支架,可以固定在通風口蓋、儀表板、中控臺、杯座等汽車內飾上,并且支持 MagSafe 無線充電,可以給 iPhone 或者其它支持 Qi 標準的設備充電。IT之家附上相關圖片如下:


